
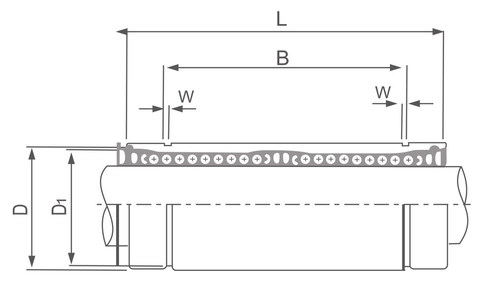
| Part Number | Maim dimensions and Tolerance | Basic Load Rating | Eccen- tricity | Weight | |||||||||||
| Seal Type | Ball Ciecuit | dr ( mm ) | Tolerance ( Ц m) | D (mm) | Tolerance ( Ц m) | L ( mm ) | Tolerance ( Ц m) | B ( mm ) | Tolerance ( Ц m) | W ( mm ) | D1 ( mm ) | Dynamic Co N | Static Co N | ||
| LME8LUU | 4 | 8 | +9 -1 | 16 | 0/-9 | 46 | 0 -300 | 33 | 0 -400 | 1.1 | 15.2 | 421 | 804 | 15 | 40 |
| LME12LUU | 4 | 12 | 22 | 0 -11 | 61 | 45.8 | 1.3 | 21 | 813 | 1570 | 80 | ||||
| LME16LUU | 5 | 16 | +11 -1 | 26 | 68 | 49.8 | 1.3 | 24.9 | 921 | 1780 | 115 | ||||
| LME20LUU | 5 | 20 | 32 | 0 -13 | 80 | 61 | 1.6 | 30.5 | 1370 | 2740 | 180 | ||||
| LME25LUU | 6 | 25 | +13 -2 | 40 | 112 | 0 -400 | 82 | 0 -500 | 1.85 | 38 | 1570 | 3140 | 17 | 430 | |
| LME30LUU | 6 | 30 | 47 | 123 | 104.2 | 1.85 | 44.5 | 2500 | 5490 | 615 | |||||
| LME40LUU | 6 | 40 | +16 -4 | 62 | 0 -15 | 151 | 121.2 | 2.15 | 59 | 3430 | 8040 | 20 | 1400 | ||
| LME50LUU | 6 | 50 | 75 | 192 | 155.2 | 2.65 | 72 | 6080 | 15900 | 2320 | |||||
| LME60LUU | 6 | 60 | 90 | 0/-20 | 209 | 170 | 3.15 | 86.5 | 7550 | 20000 | 25 | 3900 | |||
