
| Part Number | Main Dimensions and Tolerance | Eccentricity (max) Цm | Radial Clearance (max) Цm | Basic Load Rating | Weight | ||||||||||||
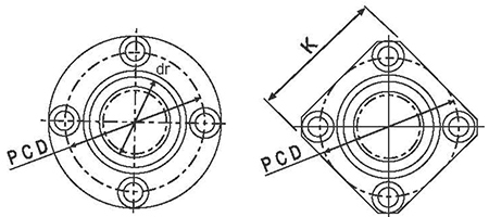
| Seal Type | Ball Circuit | dr (mm) | Tolerance (Цm) | D (mm) | Tolerance (Цm) | L ±0.3 (mm) | D1 (mm) | H (mm) | PCD (mm) | K (mm) | d1xd2xh (mm) | Dynamic Co N | Static Co N | ||||
| LMEF8LUU | LMEK8LUU | 4 | 8 | +9 -1 | 16 | 0/-13 | 46 | 32 | 5 | 24 | 25 | 3.5x6x3.1 | 15 | -3 | 421 | 804 | 59 |
| LMEF12LUU | LMEK12LUU | 4 | 12 | 22 | 0 -16 | 61 | 42 | 6 | 32 | 32 | 4.5x7.5x4.1 | 15 | -4 | 813 | 1570 | 110 | |
| LMEF16LUU | LMEK16LUU | 5 | 16 | +11 -1 | 26 | 68 | 46 | 6 | 36 | 35 | 4.5x7.5x4.1 | 15 | 921 | 1780 | 160 | ||
| LMEF20LUU | LMEK20LUU | 5 | 20 | 32 | 0 -19 | 80 | 54 | 8 | 43 | 42 | 5.5x9x5.1 | 17 | -6 | 1370 | 2740 | 260 | |
| LMEF25LUU | LMEK25LUU | 6 | 25 | +13 -2 | 40 | 112 | 62 | 8 | 51 | 50 | 5.5x9x5.1 | 17 | 1570 | 3140 | 540 | ||
| LMEF30LUU | LMEK30LUU | 6 | 30 | 47 | 123 | 76 | 10 | 62 | 60 | 6.6x11x6.1 | 17 | -8 | 2500 | 5490 | 815 | ||
| LMEF40LUU | LMEK40LUU | 6 | 40 | +16 -4 | 62 | 0 -22 | 151 | 98 | 13 | 80 | 75 | 9x14x8.1 | 20 | 3430 | 8040 | 1805 | |
| LMEF50LUU | LMEK50LUU | 6 | 50 | 75 | 192 | 112 | 13 | 94 | 88 | 9x14x8.1 | 25 | -13 | 6080 | 15900 | 2820 | ||
| LMEF60LUU | LMEK60LUU | 6 | 60 | 90 | 0/-25 | 209 | 134 | 18 | 112 | 106 | 11x17x11.1 | 25 | 7550 | 20000 | 4920 | ||
