

| SG | Full set | SGR | SGB | |||||||||||||||||||||||
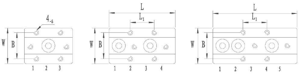
| SGR | SGB | H | W | W1 | H2 | dp | P | axis | Kg/m | T | m1 | m | W | H1 | L | B | L1 | S | Number of pulleys | Eccentric wheel position | Basic power safety load | Moment (N.m) | weight (gf/m) | |||
| Yo | Zo | |||||||||||||||||||||||||
| 15N | -3 | 32 | 38 | 38 | 18.5 | 7 | 120 | 6 | 1.651 | 8 | 8 | 4.5 | 44 | 12 | 60 | 26 | 26 | M5 | 490 | 2 | 490 | 460 | 10.2 | 9.2 | 9.8 | 110 |
| 15N | -4 | 80 | 700 | 1,3 | 700 | 660 | 14.5 | 13.2 | 14 | 145 | ||||||||||||||||
| 15N | -5 | 100 | 980 | 1,1,4 | 980 | 920 | 20.3 | 37 | 39 | 185 | ||||||||||||||||
| 15 | -3 | 32 | 46 | 46 | 18.5 | 6 | 120 | 6 | 1.784 | 8 | 8 | 4.5 | 46 | 12 | 52 | 32 | 36 | M5 | 490 | 2 | 490 | 460 | 13.8 | 74 | 7.8 | 105 |
| 15 | -4 | 72 | 700 | 1,3 | 700 | 660 | 19.8 | 21.1 | 22.4 | 140 | ||||||||||||||||
| 15 | -5 | 84 | 980 | 1,1,4 | 980 | 920 | 27.4 | 44.3 | 47 | 170 | ||||||||||||||||
| 20N | -3 | 36 | 47 | 47 | 22.5 | 6 | 120 | 6 | 2.247 | 9 | 9.5 | 5.5 | 47 | 12 | 80 | 38 | 30 | M6 | 700 | 2 | 700 | 980 | 29.4 | 25.4 | 18.2 | 195 |
| 20N | -4 | 103 | 1000 | 1,3 | 1000 | 1400 | 42 | 72.8 | 52 | 265 | ||||||||||||||||
| 20N | -5 | 132 | 1400 | 1,1,4 | 1400 | 1960 | 84.2 | 129 | 92.4 | 350 | ||||||||||||||||
| 20 | -3 | 36 | 60 | 60 | 22.5 | 6 | 120 | 8 | 2.247 | 9 | 9.5 | 5.5 | 60 | 12 | 72 | 50 | 40 | M6 | 700 | 2 | 700 | 980 | 42.1 | 21.5 | 15.4 | 210 |
| 20 | -4 | 100 | 1000 | 1,3 | 1000 | 1400 | 60.2 | 61.6 | 44 | 280 | ||||||||||||||||
| 20 | -5 | 116 | 1400 | 1,1,4 | 1400 | 1960 | 84.2 | 129 | 92.4 | 350 | ||||||||||||||||
| 25 | -3 | 44 | 69 | 69 | 26 | 7 | 120 | 10 | 3.873 | 10 | 11 | 6.5 | 70 | 16.3 | 100 | 57 | 45 | M8 | 1260 | 2 | 1260 | 1470 | 67.62 | 48.51 | 41.58 | 460 |
| 25 | -4 | 133 | 1800 | 1,3 | 1800 | 2100 | 96.6 | 138.6 | 118.8 | 615 | ||||||||||||||||
| 25 | -5 | 166 | 2520 | 1,1,4 | 2520 | 2940 | 135 | 291.06 | 249.48 | 775 | ||||||||||||||||
| 35 | -3 | 45 | 90 | 90 | 35 | 8.5 | 160 | 12 | 6.442 | 12 | 14 | 8.5 | 100 | 18 | 140 | 82 | 62 | M10 | 2800 | 2 | 2800 | 2800 | 159.6 | 126 | 128 | 1100 |
| 35 | -4 | 185 | 4000 | 1,3 | 4000 | 4000 | 228 | 360 | 360 | 1450 | ||||||||||||||||
| 35 | -5 | 230 | 5600 | 1,1,4 | 5600 | 5600 | 319.2 | 758 | 756 | 1835 | ||||||||||||||||
Moment
(N.m)
