
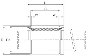
| 型号 | 主要尺寸和公差 | 径向跳动 (max) Ц m | 径向间隙 (max) Ц m | 额定载荷 | 重量 | ||||||||||||||||||
| 密封型 | 钢球列数 | 开口型 | 钢球列数 | 调整型 | 钢球列数 | dr (mm) | 公差 ( Ц m ) | D (mm) | 公差 ( Ц m ) | L (mm) | 外止动槽 ( Ц m ) | B (mm) | 外止动槽 ( Ц m ) | W (mm) | D (mm) | h (mm) | h1 (mm) | θ | 动态 Co N | 静态 Co N | |||
| LM3 | 4 | — | — | — | — | 3 | 0 -8 | 7 | 0 -9 | 10 | 0 -120 | — | 0 -200 | — | — | — | — | — | 8 | -3 | 69 | 105 | 1.35 |
| LM4 | 4 | — | — | — | — | 4 | 8 | 12 | — | — | — | — | — | — | 88 | 127 | 2 | ||||||
| LM5UU | 4 | — | — | — | — | 5 | 10 | 15 | 10.2 | 1.1 | 9.6 | — | — | — | 167 | 206 | 4 | ||||||
| LM6UU | 4 | — | — | LM6UUAJ | 4 | 6 | 0 -9 | 12 | 0 -11 | 19 | 0 -200 | 13.5 | 1.1 | 11.5 | 1.0 | — | — | 12 | 206 | 265 | 8.5 | ||
| LM8SUU | 4 | — | — | LM8SUUAJ | 4 | 8 | 15 | 17 | 11.5 | 1.1 | 14.3 | 1.0 | — | — | 176 | 216 | 11 | ||||||
| LM8UU | 4 | — | — | LM8UUAJ | 4 | 8 | 15 | 24 | 17.5 | 1.1 | 14.3 | 1.0 | — | — | 274 | 392 | 13 | ||||||
| LM10UU | 4 | — | — | LM10UUAJ | 4 | 10 | 19 | 0 -13 | 29 | 22 | 1.3 | 18 | 1.0 | 6.8 | 80° | -4 | 372 | 549 | 24.5 | ||||
| LM12UU | 4 | LM12UU-OP | 3 | LM12UUAJ | 4 | 12 | 21 | 30 | 23 | 1.3 | 20 | 1.5 | 8 | 80° | 510 | 784 | 26.5 | ||||||
| LM13UU | 4 | LM13UU-OP | 3 | LM13UUAJ | 4 | 13 | 23 | 32 | 23 | 1.3 | 22 | 1.5 | 9 | 80° | 510 | 784 | 38.5 | ||||||
| LM16UU | 5 | LM16UU-OP | 4 | LM16UUAJ | 5 | 16 | 28 | 37 | 26.5 | 1.6 | 27 | 1.5 | 11 | 80° | -6 | 774 | 1180 | 74 | |||||
| LM20UU | 5 | LM20UU-OP | 4 | LM20UUAJ | 5 | 20 | 0 -10 | 32 | 0 -16 | 42 | 30.5 | 1.6 | 30.5 | 1.5 | 12.5 | 60° | 15 | 882 | 1370 | 84 | |||
| LM25UU | 6 | LM25UU-OP | 5 | LM25UUAJ | 6 | 25 | 40 | 59 | 0 -300 | 41 | 0 -400 | 1.85 | 38 | 2 | 12 | 50° | 980 | 1570 | 192.5 | ||||
| LM30UU | 6 | LM30UU-OP | 5 | LM30UUAJ | 6 | 30 | 45 | 64 | 44.5 | 1.85 | 43 | 2.5 | 15 | 50° | -8 | 1570 | 2740 | 228 | |||||
| LM35UU | 6 | LM35UU-OP | 5 | LM35UUAJ | 6 | 35 | 0 -12 | 52 | 0 -19 | 70 | 49.5 | 2.1 | 49 | 2.5 | 17 | 50° | 20 | 1670 | 3140 | 347.5 | |||
| LM40UU | 6 | LM40UU-OP | 5 | LM40UUAJ | 6 | 40 | 60 | 80 | 60.5 | 2.1 | 57 | 3 | 20 | 50° | -10 | 2160 | 4020 | 547.5 | |||||
| LM50UU | 6 | LM50UU-OP | 5 | LM50UUAJ | 6 | 50 | 80 | 100 | 74 | 2.6 | 76.5 | 3 | 25 | 50° | -13 | 3820 | 7940 | 1560 | |||||
| LM60UU | 6 | LM60UU-OP | 5 | LM60UUAJ | 6 | 60 | 0 -15 | 90 | 0 | 110 | 85 | 3.15 | 86.5 | 3 | 30 | 50° | 25 | 4700 | 10000 | 1606 | |||
| LM80UU | 6 | LM180U-OP | 5 | LM80UUAJ | 6 | 80 | 120 | -22 | 140 | 0 -400 | 105.5 | 4.15 | 116 | 3 | 40 | 50° | -20 | 7350 | 16000 | 4420 | |||
| LM100UU | 6 | LM100UU-OP | 5 | LM100UUAJ | 6 | 100 | 0/-20 | 150 | 0/-25 | 175 | 125.5 | 4.15 | 145 | 3 | 50 | 50° | 30 | 14100 | 34800 | 8600 | |||
